The website doesn't support your browser. Please update your browser or download a different one
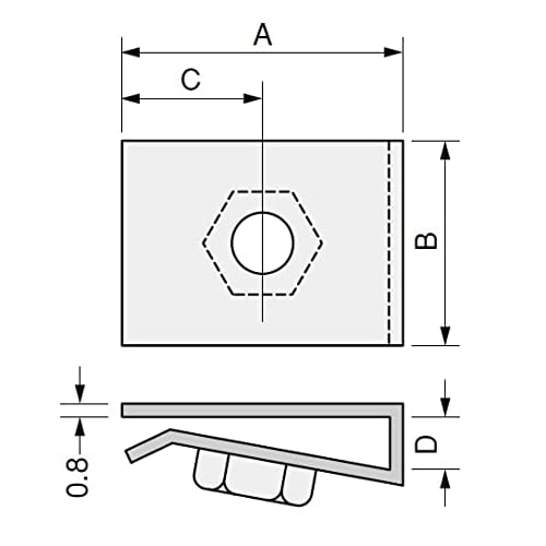
Esco M 6/37x15mm Clip Nuts (5 Pieces) EA949GS-206 Steel Plate
Current price
Price €27.49VAT included

Delivery 10‑32 business days

Delivery 3,63 €
Returns & refunds
Secure payments







Our support team speaks English
Safety & compliance documents
Description

Tokyo Hobby Center
4.7/79
Similar products






















